当前位置:首页 > 新闻中心 > 公司 > 特种钢加工压延企业多维联合开启上交所主板上市辅导

特种钢加工压延企业多维联合开启上交所主板上市辅导

2025-07-02

7月2日,多维联合集团股份有限公司(下称“多维联合”)向北京证监局提交了上市辅导备案报告,辅导机构为国泰海通,公司拟登陆上交所主板。

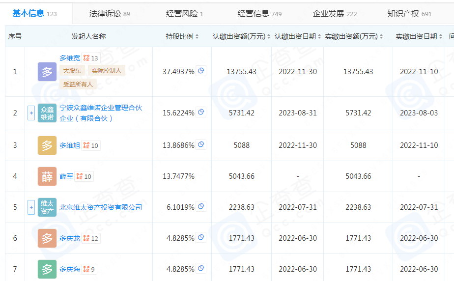
多维联合成立于2001年2月,注册资本3.7亿元,注册地址为北京市房山区,法人及控股股东为多维宽,其直接持有公司37.5%的股份。

企查查显示,多维联合所属行业为金属制品业,经营范围包含加工钢结构件、压型钢板、彩色夹芯复合板,普通货运等,截至2023年年末的员工人数为472人;公司2024年11月成为北京市企业技术中心,同年12月获得国家级高新技术企业资质。

截至目前,多维联合仅在2023年4月进行了一次A轮融资,投资方为东台晶澳太阳能光伏科技有限公司和中信证券旗下机构。

根据企查查,多维联合目前共有9位股东,除了控股股东兼董事长总经理多维宽,多维旭、多庆龙和多庆海皆为股东。


(文章来源:财中社


文章标签: 最新 股票 IPO 公司